3773考试网 - 高考 - 各省高考 - 天津高考 - 正文

2020天津高考志愿辅助系统使用说明

来源:天津市教育招生考试院 [2020-4-8] [微信公众号查成绩:]
功能
  
  2020年高考志愿辅助系统将为考生提供一个新高考志愿填报的模拟操作环境。通过高考志愿辅助系统可以查看考生基本信息,包含考生本人的外语语种,选科信息等;可以选择自己感兴趣的志愿批次,进入志愿辅助系统主页面,查询模拟招生计划,各院校和专业的选考科目要求,往年录取控制分数线和往年一分一段表等信息;可以关注符合选考科目要求及自身较为感兴趣的院校和专业,并生成意向志愿表。通过该系统,考生可以提前全方位了解和熟悉新高考志愿填报过程,为正式的新高考志愿填报做好充分的准备。为了让考生更为全面地体验模拟志愿填报过程,熟悉填报流程,志愿辅助系统中对考生的填报分数范围和填报批次不做限制,但考生的选考科目要求必须满足院校和专业的选考科目要求。
  
  登录
  
  考生登录招考资讯网,点击“2020年高考志愿辅助系统”进入登录页面,查看志愿辅助系统登录说明,然后输入考生号、密码(密码和高考报名系统使用密码一致)和验证码,点击【登录】,即可登录系统。
  

  如果考生忘记密码,如下图所示:考生可以点击登录页面下方的【忘记密码?】,需要使用高考报名时的身份证号以及预留的手机号进行密码变更,变更后,使用新密码重新登录。
  

  考生基本信息
  
  考生登录之后,进入考生基本信息展示页面,在该页面中可以查看志愿辅助系统的简要说明和考生基本信息,如下图所示:
  

  在该页面中,点击【进入主页】,进入系统主页,如下图所示:
  

  系统主页
  
  在系统主页中,考生可以查看招生简章,如下图所示:点击右上方的【招生简章】,可以进入教育部阳光高考平台,查看对应的招生政策规定、名单公示、高校招生章程等信息。
  

  在系统主页中,考生可以查看系统中的批次名称及对应的模拟阶段(类别)、说明等信息,如下图所示:可以选择模拟阶段(类别),然后点击【操作】下的【进入】按钮,进入系统。
  

  模拟招生计划查询
  
  点击【进入】按钮后,考生将进入主体查询页面。考生可通过选择计划批次、院校所属省市、院校名称、专业大类、专业名称、科目要求等自由组合找到符合自己需求的招生计划信息,再通过“关注”,将自己关注的院校和专业加入“关注列表”。
  
  操作说明:
  
  1.点击 “模拟招生计划查询”,进入模拟招生计划查询页面,如下图所示:在页面中点击【科目要求说明】可以查看查询条件科目要求和科目要求关系的详细说明。选择科目要求为“加”的关系,则表示查询所选科目均须选考的招生计划;选择科目要求为“或”的关系,则表示查询所选科目本身,以及所有与所选科目为“或”的关系的招生计划。
  

  2.在模拟招生计划查询页面,默认显示考生选择进入的“模拟阶段(类别)”对应的“计划批次”的所有数据,如下图所示:
  

  3.考生可以根据计划批次、所属省市、院校名称、专业大类、专业名称、科目要求、科目要求关系等条件自由组合查询院校专业,科目要求若不勾选,则查询所有符合查询条件的数据,科目要求中不限和其他六个科目不能同时勾选,科目中最多只能选择三科,如下图所示:
  

  4.在查询结果中,考生找到自己需要的符合选科要求的院校专业数据后,可以点击列表中【关注状态】下的 “未关注”关注该专业,关注成功后状态变为:已关注,红色字体展示,关注过的数据在“关注列表”中对应的“模拟阶段(类别)”下展示,如下图所示:
  

  5.若考生需要取消关注,则点击【已关注】,取消关注该院校下的专业,取消之后,关注状态变为:未关注。
  
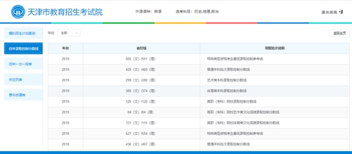
  往年录取控制分数线
  
  点击 “往年录取控制分数线”,进入本市往年录取控制分数线页面,考生可以查看往年各批次的录取控制分数线,切换年份,考生可以查看不同年份的各批次录取控制分数线。如下图所示:
  

  往年一分一段表
  
  一分一段表是将全市同科类考生的高考总分(含政策照顾),按照每1分为一段从高到低排列(分数相同的则为并列),“人数”是指取得当前分数的考生人数;“累计人数”是指当前分数及其以上分数的所有“人数”的累加;“位次”是指当前分数的总排名,当前分数的同分考生排名相同,即“位次”等于上一分数对应的“累计人数”+1。可以选择“分数”,并输入特定分数后点击“定位”,则直接定位至该分数对应的人数,累计人数和位次情况。本表数据为往年一分一段表,数据仅供参考。
  

  关注列表
  
  对已经关注的院校专业进行维护,考生可以将关注的院校专业添加到意向志愿表,也可以取消关注。点击 “关注列表”,进入关注页面,页面展示考生已经关注的专业数据,系统默认的模拟阶段(类别)为考生在主页选择进入的模拟阶段(类别),考生可以下拉选择其他模拟阶段(类别),查看关注的院校专业,如下图所示:
  

  在关注列表页面中,如果关注的数据未超过对应模拟阶段(类别)的意向志愿表中院校和专业数量限制且符合考生的选科要求,则可以全部添加到意向志愿表,若超过数量限制或者不符合考生的选科要求,则添加失败。
  
  意向志愿表
  
  用于考生填写意向志愿,填报院校专业需要符合考生的选科要求。点击“意向志愿表”,考生进入意向志愿表填写页面,页面的模拟阶段类别默认为考生在主页选择进入的模拟阶段(类别),点击【操作说明】,考生可以查看该填报页面的具体操作说明。添加意向志愿表时,填报的专业需要符合考生的选科要求,如下图所示:输入院校专业组代码,系统带出对应的院校名称,输入专业代码,带出专业数据,若考生服从专业调剂,则需要勾选是否服务调剂前边的选择框,若不服从专业调剂,不勾选即可,然后点击【保存】,数据添加成功。
  

  院校和专业添加后,可以通过点击【上移】或者【下移】图标调整显示顺序,调换位置后,序号不变,然后点击【保存】,页面刷新,序号更新。若需要删除院校或专业,则点击院校专业组代码前或专业名称后“操作”下方的【删除】图标,然后点击【保存】,则删除成功。考生若需要清空数据重新填写,可以点击【一键清空】,清空该模拟阶段(类别)下填写的所有院校和专业的意向志愿数据。
  
  该模拟阶段(类别)的意向志愿填写完成之后,可以导出对应的填报数据,如下图所示:点击【导出意向志愿表】,可以导出该模拟阶段(类别)的全部意向志愿数据。
  

  退出
  
  为确保信息安全,考生登录操作结束后,需要退出系统,点击页面右上方的【退出系统】,然后在弹出的是否退出系统的提示框中点击【确定】,成功退出系统,返回登录页面。
微信公众号查成绩:

免责声明:以上内容仅代表原创者观点,其内容未经本站证实,本网对以上内容的真实性、完整性不作任何保证或承诺,转载目的在于传递更多信息,由此产生的后果与本网无关;如以上转载内容不慎侵犯了您的权益,请联系我们fjksw@163.com,我们将会及时处理。

您可能喜欢的文章

关于我们 | 联系我们 | 版权申明 | 网站导航 | 手机版

闽ICP备08106227号-4 闽公网安备 35020602001461号

本站信息来自于官方网站及新闻媒体, 如有侵犯您的隐私请联系我们: