二、多项选择题(本大题共10小题,每小题2分,共20分)
在每小题列出的五个备选项中至少有两个是符合题目要求的,请将其代码填写在题后的括号内。错选、多选、少选或未选均无分。
1.按照反映的实物消耗内容,可将建筑安装工程定额分为( )
A.建筑工程定额
B.安装工程定额
C.劳动消耗定额
D.材料消耗定额
E.机械台班使用定额
2.下列关于施工图预算的说法中表述正确的有( )
A.施工图预算是施工图设计文件的组成部分
B.施工图预算是考核施工图设计经济合理性的依据
C.施工图预算是根据施工定额编制的
D.施工图预算是编制概算指标的基础
E.施工图预算是编制工程标底的依据
3.建筑安装工程预算的施工机械使用费中,属于可变费用的有( )
A.折旧费
B.大修理费
C.动力燃料费
D.养路费
E.机上人工费
4.下列费用属于建筑安装工程企业管理费的有( )
A.劳动保险费
B.劳动保护费
C.工会经费
D.住房公积金
E.职工教育经费
5.人工消耗指标的内容是( )
A.基本用工
B.超运距用工
C.人工幅度差
D.辅助用工
E.工程赶工用工
6.综合脚手架的内容有( )
A.内外墙砌筑脚手架
B.3.6米以内的内墙抹灰脚手架
C.外墙抹灰脚手架
D.天棚抹灰脚手架
E.3.6米以上的内墙抹灰脚手架
7.以下属于施工技术措施费项目,可按预算定额计价的是( )
A.工程排污费
B.缩短工程增加费
C.基槽坑内排水费
D.大型机械进退场及安拆费
E.脚手架费
8.工程量清单计价中,分部分项工程的综合单价由完成规定计量单位工程量清单项目所需______等费用组成。( )
A.人工费、材料费、机械使用费
B.管理费
C.临时设施费
D.利润
E.税金
9.计算砖墙砌体工程量时,应扣除( )
A.埋入的钢筋、铁件
B.圈梁、过梁
C.木砖、垫木
D.构造柱
E.门窗洞口
10.计算建筑物超高施工增加费时以下哪几项内容计入降效系数?( )
A.垂直运输
B.预制混凝土构件制作
C.脚手架
D.现浇混凝土模板
E.挖土方
三、判断题(本大题共5小题,每小题2分,共10分)
判断下列各题,正确的在题后括号内打“√”,错的打“×”。
1.工程量清单是招标文件的组成部分。( )
2.水泥砂浆踢脚线按设计图示长度以延长米计算,不扣除门洞、空圈的长度,门洞、空圈和垛的侧壁也不增加。( )
3.场外运输损耗、仓库保管损耗已包括在预算价格内。( )
4.打、压预应力钢筋混凝土管桩定额未包括接桩费用,需另行计算。( )
5.楼地面工程中踢脚线高度超过30cm者,按墙柱面相应定额执行。( )
四、简答题(本大题共3小题,每小题5分,共15分)
1.简述基本建设的内容。
2.简述预算定额的作用。
3.建筑安装工程中的人工费由哪些内容组成?
五、计算题(本大题共2小题,共25分)
计算结果保留到两位小数,单价保留到整数。
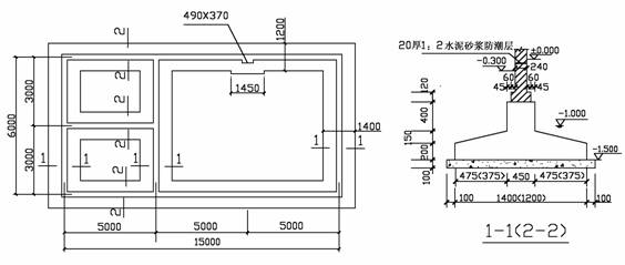
1.某房屋工程基础平面及断面如图所示,已知:基底土质均衡,为二类土,地下常水位标高为-1.0m,室外地坪设计标高-0.3m。根据预算定额计算1-1剖面的土方(干、湿土,工作面按0.3cm考虑)、无梁式钢筋混凝土带形基础(钢筋、模板不计)、砼垫层、砖基础及防潮层工程量。(15分)

放坡系数
土壤类别 |
深度超过时 |
放坡系数K |
一、二类土 |
1.2 |
0.5 |
三类土 |
1.5 |
0.33 |
四类土 |
2.0 |
0.25 |
2.某办公楼楼地面装饰装修工程为:1∶2水泥砂浆花岗岩楼地面1500m2。试根据定额项目表1进行以下计算:(1∶2水泥砂浆单价207.7元/m3)(10分)
①计算该工程项目的直接工程费;
②计算该工程项目的人工费、花岗岩材料费各是多少?
③若现行地区花岗岩价格为210元/m2,请调整该工程花岗岩材料价差;
④若现行人工费单价为80元/工日,试进行该工程人工费补差。
石材楼地面定额项目表1
工作内容:清理基层、调制砂浆、刷纯泥砂浆、锯板修边、贴面层、擦缝、净面。计算单位:100m2
定额编号 |
10-16 |
10-17 |
10-19 |
10-20 |
项目 |
大理石楼地面 |
花岗石楼地面 |
干硬水泥砂浆 |
水泥砂浆 |
干硬水泥砂浆 |
水泥砂浆 |
基价(元) |
8538 |
8578 |
14991 |
15028 |
其 中 |
人工费(元) |
638.40 |
644.10 |
649.50 |
652.50 |
材料费(元) |
783.13 |
7917.61 |
14324.71 |
14359.18 |
机械费(元) |
16.54 |
16.54 |
16.54 |
16.54 |
名称 |
单位 |
单价(元) |
消耗量 |
人工Ⅲ类合计 |
工日 |
30.00 |
21.280 |
21.47 |
21.650 |
21.750 |
材 料 |
干硬水泥砂浆 |
m3 |
173.53 |
2.200 |
|
2.200 |
|
纯泥砂浆 |
m3 |
407.63 |
0.101 |
0.101 |
0.101 |
0.101 |
大理石板 |
m2 |
72.85 |
102.00 |
102.00 |
|
|
花岗石板 |
m2 |
136.00 |
|
|
102.000 |
102.000 |
水泥砂浆1∶2.5 |
m3 |
189.20 |
|
2.200 |
|
2.200 |
白水泥 |
kg |
0.55 |
10.000 |
10.000 |
10.000 |
10.000 |
棉纱头 |
kg |
9.23 |
1.000 |
1.000 |
1.000 |
1.000 |
水 |
m3 |
1.95 |
2.600 |
2.600 |
2.600 |
2.600 |
石料切割锯片 |
片 |
27.70 |
0.350 |
0.350 |
0.350 |
0.350 |
机械 |
灰浆搅拌机200 |
台班 |
44.69 |
0.370 |
0.370 |
0.370 |
0.370 |