二、填空题(本大题共10小题,每小题1分,共10分)
请在每小题的空格中填上正确答案。错填、不填均无分。
21.在现代计算机中,CPU通过数据总线、地址总线和_________与RAM、ROM和I/O设备三大功能模块进行数据交换。
22.GPIB数据总线DIO1~DIO8上流通的消息分两类:_________和接口控制消息。
23.HDLC定义的三种站是主站、次站和_________。
24.假设异步通信一帧长度为10位,连续传送,每秒传送240个字符,则通信速率是_________波特。
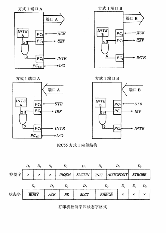
25.82C55在复位时,端口引脚被内部编程为_________引脚。
26.MC146818是Motorola公司生产的CMOS_________专用集成电路。
27.I/O端口的编址方式一般有2种方式,它们是_________I/O方式和隔离I/O方式。
28.对长距离通信来说,电流环方式在隔离和_________两方面优于RS-232C接口标准。
29.在PC机中共有两个中断请求输入引脚,一是NMI,另一是_________。
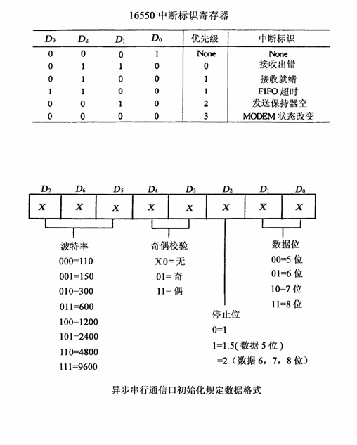
30.设8254的计数器0工作于方式3,输出的方波频率为2KHz,fclk0=2.5MHz,采用BCD计数,则方式控制字为_________。
三、简答题(本大题共3小题,每小题5分,共15分)
31.简要说明8086中断的特点。
32.当8254工作在方式0时,在计数过程中,若门控信号GATE变成低电平,计数过程会发生怎样变化?当计数过程中重新写了新的初值,计数过程会发生怎样变化?
33.异步通信协议规定的一帧字符格式包括哪几个部分?每部分各有多少位?
四、编程题(本大题共4小题,每小题7分,共28分)
34.下面是响应IRQ9中断的中断服务子程序,其功能是响应中断后,从口地址219H的数据口读取数据(假设该数据是某一字符的ASCII码)并送屏幕显示,请完成该子程序的设计。
SERVICE PROC
…… ;保留现场(略)
MOV DX,(1)_________
IN AL,DX
(2)_________
(3)_________ ;送屏幕显示
INT 21H
(4)_________
(5)_________
(6)_________ ;结束中断
…… ;恢复现场(略)
(7)_________ ;中断返回
SERVICE ENDP
35.下列程序段是利用BIOS提供的打印机驱动程序向打印机传送一串数据(长度为10个字节)的程序段,请完成该程序段。数据存在缓冲区中,缓冲器的指针为SI寄存器。
……
MOV CX,10
MOV DX,(1)_________ ;选用LPT1
NEXT: MOV AH,(2)_________
MOV AL,(3)_________
INT 17H ;打印一个字符
TEST AH,(4)_________ ;检查错误位
(5)_________ ERROR ;若出错,转ERROR处理
(6)_________ SI
(7)_________ NEXT
……
ERROR: ……
……
36.下面是利用一台PC/XT机COM1端口进行全双工串行通信的程序段。请将空缺处填写完整,使CPU执行该程序段后,能完成查询方式下发送字符‘D’的功能。
RSCAN: MOV DX,(1)_________
(2)_________
TEST AL,(3)_________ ;检查有无错误标志
JNZ ERROR ;有错,转出错处理
TEST AL,(4)_________ ;检查发送保持寄存器是否空
(5)_________ RSCAN ;不空,继续查询
MOV DX,(6)_________
MOV AL,(7)_________ ;发送数据
OUT DX,AL
37.利用两台PC/XT机COM1端口进行单工方式的串行通信,A机采用查询方式发送,B机采用查询方式接收,通信速率为4800bps,数据位8位,停止位1位,偶校验。请将下列为A机编写的初始化子程序补充完整。
I8250 PROC
MOV DX,3FBH
MOV AL,(1)_________
OUT DX,AL
MOV DX,3F9H
MOV AL,(2)_________
OUT DX,AL
MOV DX,3F8H
MOV AL,(3)_________
OUT DX,AL
MOV DX,(4)_________
MOV AL,(5)_________
OUT DX,AL
MOV DX,3F9H
MOV AL,(6)_________
OUT DX,AL
MOV DX,3FCH
MOV AL,(7)_________
OUT DX,AL
RET
I8250 ENDP
五、综合应用题(本大题共3小题,每小题9分,共27分)
38.设PC系统机外扩了一片8254实验电路,仔细分析题38图实验电路和下面程序(行号已经在左边标出),并回答问题(1)~(5)。

题38图
(1)MOV DX, 203H
(2)MOV AL, 36H
(3)OUT DX,AL
(4)MOV AX, 2000
(5)MOV DX, 200H
(6)OUT DX, AL
(7)MOV AL, AH
(8)OUT DX,AL
问题:
(1)由已知条件可知8254的控制口地址为_________,0#计数器的口地址为_________,1#计数器口地址为_________,2#计数器的口地址为_________;
(2)由已知条件可知在该实验中8254的_________定时/计数器被使用到(填:0号,1号或2号),并且工作在_________工作方式;
(3)程序运行后,LED将_________(填:闪烁,一直点亮或一直熄灭);
(4)如果程序不变,从CLK0端输入的信号变为1KHz,则LED将_________
(填:闪烁但频率减慢,闪烁但频率加快,一直点亮或一直熄灭);
(5)如果从CLK0端输入的信号保持2KHz不变,而将程序中第(4)行指令的源操作数改为1000,则LED将_________(填:闪烁但频率减慢,闪烁但频率加快,一直点亮或一直熄灭)。
39.设13H中断服务子程序的入口地址为1C00H:0B20H,
(1)请完成下列程序,将13H型中断服务程序地址写入中断向量表。
WRITE PROC
…… ;保留现场(略)
MOV DX, ①_________
MOV AX,②_________
MOV ③_________,AX
MOV AX, ④_________
⑤_________
…… ;恢复现场(略)
RET
WRITE ENDP
(2)请在题39图中表示出该中断服务程序的中断向量在中断向量表中的存放情况。
题39图
40.设系统机外扩一片8255及相应电路,如题40图所示,外扩8255端口地址为200H~203H。
要求:用中断方式编程,利用自复按钮K控制发光二级管点亮。
初始状态,全灭
第一次按下K,仅LED0亮
第二次按下K,仅LED1亮
…
第八次按下K,仅LED7亮
第九次按下K,仅LED0亮
依次类推,当键盘键入任一键,返回DOS。

题40图
(1)从题40图可以分析出,A口工作在方式_________的输_________(入/出),其口地址为_________,控制口地址为_________;
(2)请完成下列8255A的初始化程序段。
MOV DX,①_________
MOV AL,②_________
③_________ ;初始化8255
MOV AL,④_________
⑤_________ ; 允许中断
全国2010年1月高等教育自学考试
计算机通信接口技术试卷附录
课程代码:02369






