3773考试网
 3773考试网 - 中考 - 各省中考 - 浙江中考 - 宁波中考 - 正文

2017宁波慈溪中考体育考试方案政策

来源:3773考试网 2017-3-14 21:27:21

考试目的通过实施初中毕业升学体育考试,并将考试成绩计入升学考试成绩,激励学生主动自觉地参加经常性的体育锻炼,形成健康运动的观念和习惯,掌握运动技能,增强身体素质,提高健康水平;进一步促进学校体育课程内容及教学方法的改革,切实增强学校体育教学的实效性。

 

参加对象及报名办法所有参加升学(指升入普通高中、职业中专、职业高中、普通中专和成人中专普通班、技校等)考试的初中毕业学生(含在外地就读,回本市参加升学考试的应届初中毕业学生及本市户籍1999年9月1日后出生的历届生)均应参加升学体育考试。应届生由所在学校统一报名,历届生和在慈溪市外就读、回本市参加升学考试的应届初中毕业生向户籍所在地镇(街道)教办、城区教办指定的学校报名,按排定的日程统一参加体育考试。历届生报名须持有初中毕(结)业证书、户籍证明;在慈溪市外就读、回本市参加升学考试的应届初中毕业生报名时须持就读学校电子学籍基本信息表、户口簿复印件、《国家学生体质健康标准》登记卡、体检表,报名学校向市教育局中招办办理集体报名手续时,历届生和慈溪市外就读、回本市参加升学考试的应届初中毕业生须提供上述规定档案材料。

考生报名日期为4月6日至4月7日两天。 在宁波大市内借读的,也可在原就读学校参加体育考试,凭就读学校所在县(市、区)教育局基(普)教科出具的体育考试成绩证明,按相应分值计入总分。宁波大市户籍学生在我市借读而回户籍所在地县(市、区)参加升学考试的学生,可在我市借读学校报名参加体育升学考试,也可回户籍所在地县(市、区)参加体育升学考试。  在我市参加中考的非浙江省户籍学生,可以在我市初中就学地报名参加体育升学考试。体育考试报名序号和文化课考试编号一致(即与2017届初中毕业生中考照片采集报名序号一致),体育中考报名库与中考报名库一并上交。
考试项目、分值、评分要求及标准(一)考试项目及分值  体育考试注重学生整体素质要求与个体发展差异相结合,增强学生的选择权和发展权。依据浙江省初中阶段《体育与健康》课程标准及《国家学生体质健康标准》,在体育考试报名时由考生本人在市教育局规定的考试项目范围内申报确定选项。测试项目分为必测项目和选测项目,共40分,其中必测项目10分,选测项目每项10分。  1.必测项目:中长跑(男生1000米,女生800米);  2.选测项目:包括游泳、50米跑、立定跳远、跳绳(60秒)、掷实心球(2千克)、篮球运球投篮、引体向上(男生)或仰卧起坐(女生,60秒)。考生可自主决定是否参加游泳选项测试,其他项目市教育局已于2月24日上午组织了抽签,确定2017届慈溪市初中毕业学生升学体育考试选测项目为:立定跳远、50米跑、掷定实心球、篮球运球投篮,再由考生从这4项中自主选择2或3项进行测试。  2018年开始足球运球和游泳选测项目作为考生自主选测项目。游泳选项测试计分办法仍执行2017届政策,足球运球计分办法另定。  2017届选测项目成绩按以下方法计算。  (1)已参加游泳选项测试且确认将游泳成绩计入中考总分的考生,在随机项目中可自主选择2项进行测试,并按游泳和自主选择项目实际测试成绩计入总分。  (2)已参加游泳选项测试且确认不将游泳成绩计入中考总分的考生,在随机项目中可自主选择3项进行测试,并按实际测试成绩计入总分。  (3)未参加游泳选项测试的考生,在随机项目中可自主选择3项进行测试,并按实际测试成绩计入总分。  (二)评分要求和标准  2017届初中毕业学生升学体育考试中,考试要求及评分标准见最后“相关链接”。

考试时间、地点集中测试项目中,游泳选项已于2016年8月进行 ,其他项目考试时间在2017年4月中下旬。缓考时间在2017年5月。  地点:浒山中学。

有关规定(一)体育考试在市教育局初中毕业生学业考试和高中段招生工作领导小组领导下,由中招办具体组织实施。除游泳选项外,2017年继续使用《国家学生体质健康标准》专用测试器材进行考试,考生使用IC卡识别个人身份,记录考试成绩,实行电子化管理,并全程录像监控。学校须做好考生集中考试报名工作,以便统一、及时、准确地做好考生报考信息的录入工作(具体办法另行通知)。  (二)体育考试时考生一经检录不得缓考。 (三)分组别组织考试 2017届考生采用分组别组织的形式参加考试,每组考生为12人,学校可根据考生选报情况进行分组(不含长跑和游泳项目),分别为:1.立定跳远、篮球运球投篮、50米;2.立定跳远、实心球、篮球运球投篮;3.立定跳远、50米、实心球,4.篮球运球投篮、50米、实心球。其中,选报游泳的考生可自行在含有其他2项考试项目组别中报名。(例:女A考生报立定跳远、实心球、游泳,则女A考生可以报到:2、立定跳远、篮球运球投篮、实心球这组,也可以报到3、立定跳远、50米、实心球这组)。该分组一经确认,不能调整,直至考试结束。各组别考试由引导员带领,在保证50米测试前提下,其他考试前后顺序由引导员根据考场各项目考试人员多少调节。  (四)免考及缓考 1.考生因残疾免修体育课的,又持有市残联核发的残疾证,该类考生可以考前提出申请,提供残疾证于4月10日上午到市教育局普教科(210室)面检,同意后准于免考,以32分计入升学总分。  2.考生因疾病免修体育课的,可在考前提出申请,提供慈溪市级以上医院盖章的证明(包括本人详细病历和免修体育课的学校证明),于4月10日上午到市教育局普教科(210室)面检,同意后准于免考,以24分计入升学总分。  3.考生考前因病、伤不能参加体育考试的,应在考前提出申请,提供市级以上医院证明、本人详细病历,且2016年度《国家学生体质健康标准》测试成绩为优秀级的学生,经市教育局中招办批准,免于考试,以24分计入升学总分。学校必须张榜公布名单。《标准 》测试成绩在优秀级以下,根据该生平时升学体育考试项目的测试成绩确定相应分数。平时测试总分在20分以下的给予16分计入升学总分,平时测试在20分及以上者给予20分计入升学总分。  4.考生心、肺、肝、肾等有严重疾病,不适合参加中长跑、游泳等体能项目及50米跑等激烈运动的,不得参加上述项目的考试。考生须持慈溪市级以上医院盖章的证明(包括本人详细病历等),与4月10日上午到市教育局普教科(210)室面检,同意后准于该项目免考,该项成绩以5分计入体育总分。  5.女生例假期间及临考前发病或受伤者,由学校统一到指定地点申请缓考,经在场医生核准,予以缓考统一组织补考。如仍不能参加补考的,可申请免考,经批准后按免考规定给予计分。  6.考生须在规定时间内参加考试。如考生自行放弃其考试项目,该项目作零分处理,按已考项目最后得分计入升学总分。考生中途因伤、病不能坚持继续考试者,如本人要求补考,经该项临场裁判证明,市教育局中招办核准后,参加市教育局中招办统一组织的补考,该类考生已考项目成绩有效,只准参加未考完的项目及后续项目的补考。  7.无故缺席不予补考。无故放弃规定考试项目的考生,高中段学校不予录取。
组织实施(一)体育考试工作由市教育局初中毕业生学业考试和高中段招生工作领导小组领导,全面负责体育考试工作的管理、监督和协调,确保考试工作公开、公平、公正并安全地进行。各学校也应成立相关领导小组,确保学校考试工作规范、有序进行。  (二)体育考试工作是对学校体育教学质量及学生体质健康水平的一次检验,各地(校)要充分认识体育考试工作的重要意义,加强宣传教育,帮助学生家长了解体育考试的目的及意义。要坚持按照学校体育工作要求,安排好体育课、大课间及课外活动,保证学生每天一小时体育锻炼时间,要把注意力集中到推动学生经常、科学锻炼这个根本环节上来,注意防止和克服只抓考试项目,忽视平时体育课及其他体育锻炼等倾向。  (三)加强体育集中考试安全保障工作。各学校要在体育考试前,集中进行安全教育,要做好考生对考试项目的适应训练,结合体育考试的特点,加强科学指导,考前组织学生锻炼,运动量强度要适宜,有效防止伤害事故的发生。参加考试时,要做好学生的组织工作,根据考试时间的安排,派出校领导和教师组织学生赴考。要特别重视往返途中的安全,防止意外事故的发生。考生(和家长)要注意考试前的身体状况,既不能隐瞒疾病情况,也不能虚报疾病,不参加与自身体状况不适宜的项目测试,并在考试前作好充分的准备活动,防止意外事故的发生。考点要切实加强安全保障措施,各环节务必落实安全责任,必须配备医护人员,同时要加强器材安全检查,强化过程监控,消除因场地、器材设备和组织工作不当等各种可能造成的不安全因素,有效防止伤害事故的发生,确保考生在体育考试过程中的安全和体育考试的顺利进行。  (四)体育考试是初中毕业学生升学考试的重要组成部分,体育考试费用按照学生升学考试有关规定执行。  (五)《慈溪市初中毕业学生升学体育集中考试项目考试办法》、《慈溪市初中毕业学生升学体育集中考试规则》、《慈溪市初中毕业学生升学体育集中考试工作人员守则》由市教育局制定并负责解释。

相关链接考试办法

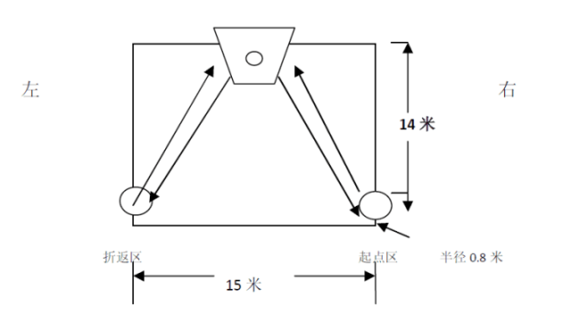
本体育考试场地采取全封闭管理,考生需使用IC卡,经入口翼闸检录处刷卡核对考生基本信息无误后,进入考试场地。所有考试项目均使用IC卡识别身份,记录成绩。考生在每项考试结束后可以在测试器材上刷卡当场打印成绩单确认考试成绩,所有考试项目结束后使用考试卡经出口翼闸出场,再次核对本人本次体育考试所有成绩。所有考试结束后以学校为单位打印考生所有成绩并交学校领队签字确认。考试场所配备医生若干名。中长跑(男1000米、女800米)1.场地器材:400 米标准环形塑胶跑道,考前丈量准确。跑道上标有明显的起、终点线。测试主机、地垫、腕表、其他设备等。  2.考试办法:裁判员刷考生考试卡,仪器正确显示考生的姓名、考号、照片等信息并自动分配考生腕表号码,考生戴上对应的专用腕表,站在起跑线,用站立式起跑。当发令器发出起跑信号,考生起跑并按规定跑向终点线,如有抢跑者,全组召回重跑,抢跑二次者成绩作零分,到达终点后测试成绩将在仪器上自动生成,仪器自动评出中考得分,并通过成绩公示系统实时公示(成绩及分数),可打印单项测试成绩单。考生测试完毕将专用腕表交还给裁判员,持考试卡离开测试区域,每人测试1次。50米跑1.场地器材:100米以上的直形塑胶跑道,考前丈量准确。跑道上须标有明显的起、终点线。电动计时器等。  2.考试办法:裁判员核对考生考试卡,考生按照分配的跑道号站在起跑线,起跑姿势为站立式,当发令枪发出起跑信号,考生起跑并按规定跑向终点线,如有抢跑者,全组召回重跑,抢跑二次者成绩作零分,到达终点后测试成绩将在仪器上自动生成,仪器自动评出中考得分,并通过成绩公示系统实时公示(成绩及分数),可打印单项测试成绩单。每人最多可测试2次(第二次测试时组别、跑道号不变),记录其中最好的一次有效成绩。测试结束后持考试卡离开测试区域。立定跳远1.场地器材:测试主机、测试杆、专用测试垫等。  2.考试办法:裁判员刷考生考试卡,仪器正确显示考生的姓名、考号、照片等信息,确认无误后开始测试。考生在专用测试垫起跳线后两脚自然分开站立,语音提示后原地两脚同时起跳,不得垫步和小跳, 动作完成后向跳跃前方任一侧走出测试垫。仪器会自动测量判定跳远距离并记录成绩,并识别起跳踩线等犯规动作,有语音或警鸣提示犯规,如起跳犯规自动识别该次跳跃成绩无效。每人最多可测试 3 次,记录其中最好的一次有效成绩并评出中考得分。通过成绩公示系统实时公示(成绩及分数),可打印单项测试成绩单。测试结束后持考试卡离开测试区域。掷实心球(2千克)1.场地器材:4米宽、20米长的平地一块,质量2千克实心球、测试主机、专用测试仪器等。  2.考试办法:裁判员刷考生考试卡,仪器正确显示考生的姓名、考号、照片等信息,确认无误后开始测试。考生在投掷线后身体正对投掷方向两脚前后或左右开立,双手持球在头上方,原地向前过头顶掷出,球出手后后脚才可向前迈出一步,但不得踩线或超线。仪器能自动测量判定投掷距离并识别起掷踩线或投掷后踩线等犯规动作,有语音或警鸣提示犯规。每人最多可测试 3 次,记录其中最好的一次有效成绩并评出中考得分。通过成绩公示系统实时公示(成绩及分数),可打印单项测试成绩单,测试结束后持考试卡离开测试区域。篮球运球投篮1.场地器材:标准篮球场半个(15*14 米),橡胶篮球、专用测试仪器、IC卡读卡器等。篮圈与地面平行,离地面高度3.05米,并悬挂篮网。以中线与边线的相交点为圆心(0.8米为半径)作弧,成1/4圆作为运球的起点区,另一对应点作为折返点。(测试场地见图示)2.考试办法:裁判员刷考生IC 卡,仪器正确显示考生的姓名、考号等信息后开始测试。考生在运球起点区准备,听到语音提示后从起点开始运球至篮下投篮(投中),接篮板球后运球至另一侧脚踏标志后做同样动作返回到起点时,系统停止计时。考生在运球投篮过程中不得走步或二次运球,裁判发现考生出现上述情况鸣哨示意,考生必须从就近的标志线或端线重新开始运球,此过程计时不停。运球投篮过程中,投篮动作不限,投篮必须投中方能继续。在考试过程中,计时显示考生不能得分时,系统会自动提示,裁判鸣哨停止考试。考生测试完毕,可自行刷卡打印成绩单,持IC卡离开测试区域。每人最多可测试2次,记录其中最好的一次有效成绩。足球运球1.场地器材:平整场地或足球场,表面为天然或人工草坪(不能为光滑的硬地)。测试区域长30米,宽6 米,场地四周设置明显的标志线。起点线至第一杆距离为5 米,各杆间距5 米,共设5 根标志杆,标志杆与两侧边线相距3 米。标志杆高不低于1.2米,考试用球的规格为 5 号足球(其重量为 396-453g,周长为680-710mm),球内气压符合足球竞赛规则要求。  2.考试办法:考生站在起点线后准备。发令后,考生运球向前, 依次绕杆;球通过最后一个标志杆后,考生至少触球一次,再运球通过终点线;人与球均越过终点线后,计时停止。以秒为单位记录测试成绩,精确到小数点后1位(0.1秒),小数点后第2位数非 “0”时进1。考试犯规时,当次成绩无效。犯规行为包括:从指定区域出发;出发时抢跑;手球;漏绕标志杆;碰倒标志杆;球过最后一个标志杆后到达终点前未触球;未按要求完成全程路线;测试期间,人或球出测试区域等。每人最多可测试2次,记录其中最好的一次有效成绩。



  • 上一个文章:
  • 网站版权与免责声明
    ①由于各方面情况的不断调整与变化,本网所提供的相关信息请以权威部门公布的正式信息为准.
    ②本网转载的文/图等稿件出于非商业性目的,如转载稿涉及版权及个人隐私等问题,请在两周内邮件fjksw@163.com联系.
    全站专题
    · 英语四六级查分  · 甘肃省教育考试院  · 吉林省教育考试院  · 湖北省教育考试院  · 安徽招生考试网  · 河南招生考试信息网  · 招考资讯网  · 浙江省教育考试网  · 湖北招生信息网  · 重庆招考信息网  · 广东考试服务网  · 上海教育考试院  · 湖南省教育考试院  · 广西招生考试网  · 云南招生考试院  · 黑龙江省招生考试院  · 中考志愿填报  · 中考分数线  · 中考录取查询  · 中考查分网  · 中考作文网  · 中考试题答案网  · 高考零分作文  · 高考成绩查询2017  · 高考试题及答案  · 公安警察院校招生  · 西藏教育考试院  · 青海招考信息网  · 云南省招考频道  · 四川省教育考试院  · 陕西招生考试信息网  · 新疆招生网  · 广东省教育考试院  · 湖南招生考试信息港  · 重庆市教育考试院  · 湖北教育考试网  · 江西省教育考试院  · 江苏省教育考试院  · 吉林省教育信息网  · 黑龙江招生考试信息港  · 山西招生考试网  · 天津市教育招生考试院  · 北京教育考试院  · 辽宁招生考试之窗  · 内蒙古招生考试信息网  · 河北省教育考试院  · 山东省教育招生考试院  · 广西招生考试院  · 海南省考试局  · 河南省招生办公室  · 贵州省招生考试院  · 宁夏教育考试院  · 浙江教育考试院  · 上海招考热线  · 福建省教育考试院  · 安徽省教育招生考试院  · 成绩查询、录取查询、网上报名系统  · 香港高校内地招生  · 空军招飞  · 自主招生保送生小语种  · 中国大学排行榜  · 高考满分作文|高考作文  · 高考志愿填报指导、平行志愿  · 高水平运动员体育特长生招生  · 高考报名  · 艺术特长生  · 空乘招生民航招飞  · 高考志愿填报  · 军校招生网_国防生招生_军校名单  · 单独招生


    | 关于我们 | 联系我们 | 版权申明 | 网站导航 | 手机版
    琼ICP备12003406号